跳到主要内容

8 医院用户

您可以为您的客户创建并授权可访问设备的云探医联账号,该账号只可登录微信小程序(参考 11 关注微信公众号),新创建的账号首次登陆微信小程序时需要完成用户信息绑定才可使用云探医联小程序。若您的客户发生任何职位上的变动,请及时对其云探医联账号进行信息修或删除等操作以确保您的设备及信息安全。

8.1 新增医院用户

点击>>进入医院用户功能页面。 Login

医院用户列表
  1. 点击按钮,创建医院用户账号。
  2. 选择一个可用的授权 ID,并根据实际新增的用户信息填写电话号码并点击下一步。 Login
    新增医院用户–绑定ID
  3. 给该医院用户关联设备并点击下一步。 Login
    新增医院用户–关联设备
  4. 确认该医院用户信息无误后点击确定按钮,医院用户创建成功。 Login
    新增医院用户–确认信息

8.2 查看医院用户详情

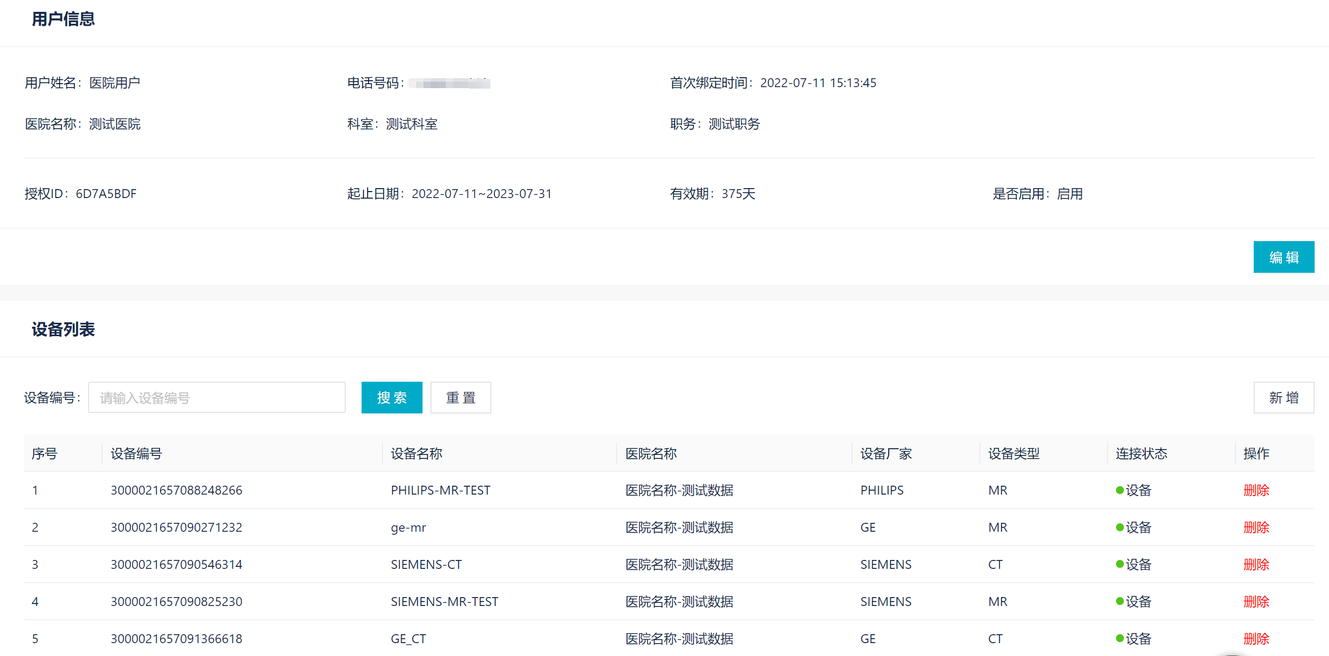
在医院用户>>医院用户列表中选择并点击一条医院用户账号操作列的按钮可以进入该医院用户详情页面,在此页面点击用户信息栏右下角的按钮可以编辑该医院用户的电话号码和修改该用户的启用、禁用状态(当用户状态标记为“禁用”或者“过期”时,该用户将不能再使用云探医联小程序);编辑完成后点击按钮即可保存,点击按钮则不保存所作的更改。在此页面点击设备列表栏的按钮可以给该医院用户添加关联设备,点击设备列表待删除设备操作列的按钮并确定后即可删除该设备。 Login

医院用户详情

8.3 重置医院用户

在医院用户>>医院用户列表中选择并点击一条医院用户账号操作列的按钮可以清空该授权 ID 绑定的手机号、用户姓名、医院名称、科室和职务信息,但首次绑定时间不会被清空。

重置医院用户账号前需删除该账号下关联的所有设备